Содержание
Низкочастотные генераторы
Такие конструкции применяются для настройки и тестирования аудиоаппаратуры
Если обратить внимание на схему простейшего низкочастотного генератора сигналов, то можно увидеть, что в нем устанавливаются переменные резисторы – с их помощью производится корректировка формы и величины сигнала. Чтобы осуществить изменение величины импульса, можно использовать модулятор серии КК202
Сигнал в этом случае должен генерироваться через конденсаторы.
Низкочастотный генератор сигналов используется для настройки любой аудиоаппаратуры – проигрывателей, усилителей звуковой частоты и т. д. В качестве такого генератора можно использовать персональный компьютер (даже старый ноутбук подойдет). Это бюджетный вариант, который не потребует больших затрат, если в наличии имеется старенький компьютер. Достаточно установить последнюю версию драйверов, программу для работы со звуковой картой и сделать переходник для подключения к аппаратуре.
Лабораторный генератор НЧ
Рейтинг: 5 / 5
- Подробности
- Категория: Генераторы НЧ
- Опубликовано: 13.04.2018 10:44
- Просмотров: 4905
Кривенко Р.Ю. Низкочастотный генератор синусоидального сигнала — очень важный прибор в лаборатории любого радиолюбителя. Возможно, такой уже есть у всех. Но все же хочу познакомить читателей журнала со своим генератором. Генератор выполнен в виде самостоятельного прибора, питающегося от электросети. Но шкала у него сделана лишь приблизительная — нарисована перманентным маркером прямо на корпусе прибора вокруг переменного резистора, которым частота регулируется. Для точной установки частоты используется другой самостоятельный прибор — частотомер на основе платы ARDUINO UNO, кстати, выполненный в таком же корпусе.
Применение таймера NE555. Часть 2 — генератор прямоугольных импульсов на NE555
Пример №7 — Простой генератор прямоугольных импульсов на NE555

В момент включения схемы, конденсатор C1 разряжен и на выходе 3 таймера NE555 находится высокий уровень. Затем конденсатор C1 через резистор R1 начинает постепенно заряжаться.
В момент, когда потенциал на конденсаторе, и соответственно на выводе 6 (стоп) таймера, достигнет примерно 2/3 напряжения питания, сигнал на выводе 3 переключится на низкий уровень. Теперь конденсатор через сопротивление R1 начинает разряжаться. Когда уровень напряжения на входе 2 (запуск) упадет до 1/3 Uпит., на выходе снова будет высокий уровень. И процесс повторится снова.
Как умощнить выход
Генератор предполагался для работы на низкоомную нагрузку в несколько Ом. Разумеется ни один маломощный ОУ не сможет выдать необходимый ток.
Для умощнения, на выходе генератора разместился повторитель на TDA2030. Все вкусности такого применения этой микросхемы описаны в статье Схема повторителя напряжение на ОУ. Мощный повторитель напряжения на TDA2030.
А вот так собственно выглядит схема всего синусоидального генератора с усилителем напряжения и повторителем на выходе:

Генератор синуса на мосту Вина можно собрать и на самой TDA2030 в качестве ОУ. Все зависит от требуемой точности и выбранной частоты генерации.
Если нет особых требований к качеству генерации и требуемая частота не превышает 80-100 кГц, но при этом предполагается работа на низкоомную нагрузку, то этот вариант вам идеально подойдет.
Высокочастотные конструкции
Внутреннее сопротивление высокочастотного генератора сигналов около 50 Ом. При этом устройство способно отдавать большую мощность. У высокочастотных конструкций полоса пропускания составляет около 2 ГГц. В схеме применяются постоянные конденсаторы емкостью свыше 7 пФ. Это позволяет поддерживать максимальный ток в цепи до 3 А. Искажения на уровне 1 %.

В высокочастотных генераторах применяются только операционные усилители. В начале и конце цепи монтируются ограничители сигналов. Для работы используются микроконтроллеры из серии РРК211 и шестиканальный селектор. При помощи регуляторов можно установить частоту выходного сигнала – минимальное значение 90 Гц.
Генератор на 120 Гц
На рисунке 4 показана схема генератора частоты 120 Гц. Частота стабилизирована кварцевым резонатором Q1 на 32768 Гц, с его выхода внутри микросхемы D1 импульсы поступают на двоичный счетчик. Коэффициент деления частоты задан диодами VD1-VD2 и резистором R1, которые обнуляют счетчик каждый раз, когда его состояние достигает 272. При этом, 32768 / 272 = 120,470588.
Это не совсем 120 Гц, но близко. К тому же, подбором емкостей конденсаторов С1 и С2 можно немного изменить частоту кварцевого генератора и получить результат более близкий к 120 Гц.
Рис. 4. Принципиальная схема генератора сигнала частотой 120 Гц.
Напряжение источника питания может быть от 3 до 15V, в зависимости от напряжения питания схемы, вернее, от необходимой величины логического уровня. Выходные импульсы во всех схемах несимметричные, это нужно учитывать при конкретном их применении.
Генератор НЧ радиолюбителя-конструктора
Генератор НЧ является одним из самых необходимых приборов в радиолюбительской лаборатории. С его помощью можно налаживать различные усилители, снимать АЧХ, проводить эксперименты. Генератор НЧ может быть источником НЧ сигнала, необходимого для работы других приборов ( измерительных мостов, модуляторов и др. )
Желательно чтобы генератор вырабатывал не только синусоидальное, но и прямоугольное напряжение, логического уровня, скважность и амплитуду которого можно регулировать.Принципиальная схема генератора показана на Рис.1. Схема состоит из низкочастотного синусоидального генератора на операционном усилителе А1 и формирователя прямоугольных импульсов на микросхеме D1
Схема синусоидального генератора традиционная. Операционный усилитель, при помощи положительной обратной связи ( С1-С3, R3, R4, R5, C4-C6 ) выполненной по схеме моста Винна, приведён в режим генерации. Избыточная глубина положительной обратной связи, приводящая к искажению выходного синусоидального сигнала, компенсируется отрицательной ОС R1-R2. Причём R1 подстроечный, чтобы с его помощью можно было установить величину ОС такой, при которой на выходе операционного усилителя неискажённый синусоидальный сигнал наибольшей амплитуды. Лампа накаливания включена на выходе ОУ в его цепи обратной связи. Вместе с резистором R16 лампа образует делитель напряжения, коэффициент деления которого зависит от протекающего через него тока ( лампа Н1 выполняет функции терморезистора, увеличивая своё сопротивление от нагрева, вызванного протекающим током ). Частота устанавливается двумя органами управления, – переключателем S1 выбирают один из трёх поддиапазонов «20-200 Гц», «200-2000 Гц» и «2000-20000 Гц». Реально диапазоны немного шире и частично перекрывают друг друга. Плавная настройка частоты производится сдвоенным переменным резистором R5. Желательно чтобы резистор был с линейным законом изменения сопротивления. Сопротивления и законы изменения составных частей R5 должны быть строго одинаковыми, поэтому применение самодельных сдвоенных резисторов ( сделанных из двух одиночных ) недопустимо. От точности равенства сопротивлений R5 сильно зависит коэффициент нелинейных искажений синусоидального сигнала. На оси переменного резистора закреплена ручка со стрелкой и простая шкала для установки частоты. Для точной установки частоты используют цифровой частотомер. Выходное напряжение плавно регулируют переменным резистором R6. С этого резистора поступает НЧ напряжение на милливольтметр, чтобы можно было установить необходимое выходное напряжение. Понизить установленное значение в 10 и 100 раз можно при помощи аттенюатора на резисторах R12-R14. Максимальное выходное напряжение НЧ генератора 1,0V. Для формирования импульсов служит ключ на транзисторе VT2 и три логических элемента на микросхеме D1. Выходной уровень КМОП логики. Транзистор VT2 включён по схеме ключа. Это значит, что при достижении на эго базе напряжения определённого уровня он лавинообразно открывается. На базу транзистора переменное напряжение с выхода генератора подаётся через делитель R9-R10. При помощи R9 можно установить величину минимального напряжения, при котором открывается VT2. Благодаря диоду VD1, который создаёт на эмиттере транзистора небольшое отрицательное напряжение смещения, этот порог можно устанавливать от 0,1 до 1V. То есть, до максимального значения выходного напряжения генератора. В зависимости от того, как установлен этот порок, транзистор VT2 будет открываться и закрываться на определённых участках положительной полуволны низкочастотного напряжения. И от этого будет зависеть ширина импульсов, возникающих на коллекторе транзистора. Окончательно прямоугольную форму импульсам предают элементы микросхемы D1. С гнёзд Х4 и Х5 можно снимать противофазные импульсы. Регулируют амплитуду выходных прямоугольных импульсов изменяя напряжение питания микросхемы D1 в пределах от 9,5 до 3,5V. Регулятор напряжения выполнен на транзисторе VT1. Выключают генератор тумблером на два положения S2, отключающим генератор от источника двуполярного напряжения ±10V.
Источник
Самодельные приборы
Можно сделать генератор сигналов своими руками из подручных средств. Основная часть любого генератора – это селектор (англ. select – выбор). В любой конструкции он рассчитан на несколько каналов. В стандартных конструкциях применяется не более двух микросхем. Этого для реализации простейших приборов оказывается достаточно. Идеально подойдут для изготовления генераторов микросхемы из серии КН148. Что касается преобразователей, то они используются только аналоговые.

В некоторых случаях допускается использовать персональный компьютер в качестве генератора сигналов. Своими руками можно сделать небольшой переходник – он устанавливается на выходе звуковой карты. Сигнал снимается с выхода и используется для тестирования аппаратуры. На ПК устанавливается программа, которая будет управлять звуковой картой. Недостаток такой конструкции – слишком узкий диапазон частот, поэтому его нельзя использовать при тестировании некоторых приборов.
Самодельные приборы
Можно сделать генератор сигналов своими руками из подручных средств. Основная часть любого генератора – это селектор (англ. select – выбор). В любой конструкции он рассчитан на несколько каналов. В стандартных конструкциях применяется не более двух микросхем. Этого для реализации простейших приборов оказывается достаточно. Идеально подойдут для изготовления генераторов микросхемы из серии КН148. Что касается преобразователей, то они используются только аналоговые.

В некоторых случаях допускается использовать персональный компьютер в качестве генератора сигналов. Своими руками можно сделать небольшой переходник – он устанавливается на выходе звуковой карты. Сигнал снимается с выхода и используется для тестирования аппаратуры. На ПК устанавливается программа, которая будет управлять звуковой картой. Недостаток такой конструкции – слишком узкий диапазон частот, поэтому его нельзя использовать при тестировании некоторых приборов.
Генератор на логических элементах
Если использование транзисторов в генераторе кажется вам несовременным или громоздким или недопустимым по религиозным соображениям – выход есть! Можно использовать вместо транзисторов микросхемы. Обычно используется логика: элементы НЕ, И-НЕ, ИЛИ-НЕ, реже – Исключающее ИЛИ. Вообще говоря, нужны только элементы НЕ, остальное – излишества, только лишь ухудшающие скоростные параметры генератора.
Смотрим:
Видим страшную схему.
Квадратики с дырочкой в правом боку – это инвертеры. Ну или – «элементы НЕ». Дырочка как раз указывает на то, что сигнал инвертируется.
Что такое элемент НЕ с точки зрения банальной эрудиции? Ну, то есть, с точки зрения аналоговой техники? Правильно, это усилитель с обратным выходом. То есть, при увеличении напряжения на входе усилителя, напряжение на выходе пропорционально уменьшается . Схему инвертера можно изобразить примерно так (упрощенно):
Это конечно, слишком просто
Но доля правды в этом есть.
Впрочем, нам пока что это не столь важно
Итак, смотрим схему генератора. Имеем:
Два инвертера ( DD1.1, DD1.2)
Резистор R1
Колебательный контур L1 C1
Заметьте, что колебательный контур в этой схеме – последовательный. То есть, конденсатор и катушка стоят друг за другом. Но это – все равно колебательный контур, он рассчитывается по тем же формулам, и ничуть ни хуже (и не лучше) своего параллельного собрата.
Начнем сначала. Зачем нам нужен резистор?
Резистор создает отрицательную обратную связь (ООС) между выходом и входом элемента DD1.1. Это надо для того, чтобы держать под контролем коэффициент усиления – это раз, а также – чтоб создать на входе элемента начальное смещение – это два. Как это работает, подробно мы рассмотрим где-нибудь в обучалке по аналоговой технике. Пока что уясним, что благодаря этому резистору, на выходе и входе элемента, в отсутствие входного сигнала, устаканивается напряжение, равное половине напряжения питания. Точнее – среднему арифметическому напряжений логических «нуля» и «единицы». Не будем пока на этом заморачиваться, у нас еще много дел…
Итак, на одном элементе мы получили инвертирующий усилитель. То есть, усилитель, который «переворачивает» сигнал вверх ногами: если на входе много – на выходе мало, и наоборот. Второй элемент служит для того, чтобы сделать этот усилитель неинвертирующим. То есть, он переворачивает сигнал еще раз. И в таком виде, усиленный сигнал подается на выход, на колебательный контур.
А ну-ка, смотрим внимательно на колебательный контур? Как он включен? Правильно! Он включен между выходом и входом усилителя. То есть, он создает положительную обратную связь (ПОС). Как мы уже знаем из рассмотрения предыдущих генераторов, ПОС нужна для генератора, как валерьянка для кота. Без ПОС ни один генератор не сможет что? Правильно – возбудиться. И начать генерацию…
Все наверно знают такую вещь: если к входу усилителя подключить микрофон, к выходу – динамик, то при поднесении микрофона к динамику, начинается противный «свист». Это – ни что иное как генерация. Мы же подаем сигнал с выхода усилителя на вход. Возникает ПОС. Как следствие, усилитель начинает генерить.
Ну, короче, посредством LC -цепочки в нашем генераторе создается ПОС, приводящая к возбуждению генератора на резонансной частоте колебательного контура.
Ну что, сложно?Если (сложно)
{
чешем (репу) ;
читаем еще раз;
}
Теперь поговорим о разновидностях подобных генераторов.
Во-первых, вместо колебательного контура, можно включить кварц. Получится стабилизированный генератор, работающий на частоте кварца:
Если в цепь ОС элемента DD1.1 включить вместо резистора колебательный контур – можно завести генератор на гармониках кварца. Для получения какой-либо гармоники, нужно, чтобы резонансная частота контура была близка к частоте этой гармоники:
Если генератор делается из элементов И-НЕ или ИЛИ-НЕ, то входы этих элементов нужно запараллелить, и включать как обычный инвертор. Если используем Исключающее ИЛИ, то один из входов каждого элемента сажается на + питания.
Пара слов о микросхемах.
Предпочтительнее использовать логику ТТЛШ или быстродействующий КМОП.
Серии ТТЛШ: К555, К531, КР1533
Например, микросхема К1533ЛН1 – 6 инверторов.
Серии КМОП: КР1554, КР1564 (74 AC , 74 HC ), например – КР1554ЛН1
На крайний случай – старая добрая серия К155 (ТТЛ). Но ее частотные параметры оставляют желать лучшего, так что – я бы не стал использовать эту логику.
Рассмотренные здесь генераторы – далеко не все, что могут повстречаться вам в этой нелегкой жизни. Но зная основные принципы работы этих генераторов, будет уже намного проще понять работу других, укротить их и заставить работать на себя
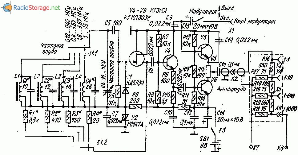
Принципиальная схема
Максимальный выходной уровень (положение 1/1 S2) синусоидального напряжения (RMS) 3,1 V. Соответственно в других положениях S2 максимальный выходной сигнал (RMS) составляет 310mV и 31mV. Питается генератор от электросети через встроенный источник питания на маломощном силовом трансформаторе.
Схема генератора представляет собой УНЧ с двухтактным выходным каскадом, охваченный положительной обратной связью RC-схемой моста Винна. Частота определяется переменными резисторами R2 1 и R2.2, являющимися составляющими частями сдвоенного переменного резистора, используемого как орган плавной настройки частоты в пределах выбранного диапазона. И конденсаторов, переключаемых сдвоенным переключателем S1.1-S1.2.

Рис. 1. Принципиальная схема лабораторного генератора сигнала низкой частоты 15 Гц — 160 КГц.
При монтаже переменные резисторы нужно паять так, чтобы при вращении рукоятки их сопротивления менялись одинаково (при неправильном включении при вращении рукоятки сопротивление одного переменного резистора будет уменьшаться в то время как сопротивление другого будет расти).
Чем ближе характеристики регулировки резисторов, составляющих блок переменных резисторов, тем меньшие искажения сигнала будут на выходе. Это же касается и конденсаторов, образующих мост Винна, — их емкости одновременно работающие в одном диапазоне должны быть максимально одинаковы (С1=С5, С2=С6, C3=С7, С4=С8 с увеличением неравенства этих емкостей возрастают искажения).
Коэффициент нелинейных искажений не более 0,3% во всем диапазоне частот (при условии тщательной настройки генератора, и малом разносе емкостей и резисторов плеч моста Винна).
При наличии только моста Винна схема усилителя (генератора) будет выходить на режим ограничения сигнала То есть, в данном случае, это перегрузка, которая обрежет вершины синусоид и сигнал будет более похож на прямоугольный, чем на синусоидальный.
Поэтому необходима так же и система отрицательной обратной связи, которая будет снижать коэффициент передачи усилителя так чтобы размах выходного сигнала не вылезал в зоны ограничения и нелинейности.
К тому же, должна быть автоматическая регулировка глубины ООС, придерживающая коэффициент передачи на оптимальной величине, которая здесь образована резисторами R7, R6, R5, а так же конденсатором С9. Элементом, регулирующим глубину ООС является лампа накаливания Н1.
Как известно, сопротивление лампы накаливания сильно зависит от тока через неё, так как ток вызывает нагрев нити из высокоомного сплава металла Чем больше ток, тем больше нагрев и тем больше сопротивление лампочки. Здесь лампа включена в цепи ООС, при увеличении сопротивления в этой цепи глубина ООС увеличивается и коэффициент передачи усилителя снижается.
Через лампу протекает выходной переменный ток, поэтому от его величины зависит и нагрев лампы. Таким образом происходит стабилизация выходного уровня сигнала в пределах линейного участка характеристики усилителя НЧ.
Усилитель, составляющий основу ГНЧ построен на транзисторах по трехкаскадной схеме с мостовым выходным каскадом и непосредственными связями между каскадами.
Для устранения «ступеньки» напряжение смещения на базах VT3 и VТ4 различаются на величину, заданную цепью из трех диодов VD1-VD3. Плавная регулировка выходного сигнала осуществляется переменным резистором R11, ступенчатая, — переключателем S2, переключающим резисторы делителя R12-R14.
Источник питания вырабатывает двухполярное постоянное напряжение около + 11V. В источнике питания используется маломощный силовой трансформатор Т1 с одной вторичной обмоткой на напряжение 9V. Для того чтобы от такого трансформатора получить двухполярное напряжение здесь используется два одно-полупериодных выпрямителя на диодах VD4 и VD5.
В результате для формирования положительного постоянного напряжения используется положительная полуволна переменного тока, а для формирования отрицательного постоянного напряжения используется отрицательная полуволна переменного тока.
www.newcom.cv.ua — Генератор ВЧ (2-160 Мгц)
Подробности Опубликовано 01.01.2013 11:59 Генератор ВЧ работает в диапазоне частот от 2 Мгц до 160 Мгц. Предназначен для проведения работ по настройки высокочастотной радиоаппаратуры, в том числе приемников, передатчиков, трансиверов, радиомикрофонов, устройств дистанционного радиоуправления и т.д.
Для более точного задания частоты, основной диапазон частот разбит на шесть поддиапазонов — четыре в диапазоне КВ и два в диапазоне УКВ.

Уровень выходного напряжения регулируется ступенчато с помощью антенюатора в пределах 1 mV, 10mV, 100 mV и 1 V.
Схема генератора ВЧ очень простая в повторении и состоит из трех основных модулей :
1. Высокочастотного автогенератора собранный по схеме индуктивной трехточки на индуктивностях и транзисторе VT1 KT345. Параметры индуктивностей L1- L6, для поддиапазонов указаны в таблице.
| Номер катушки | Поддиапазон Мгц | Индуктивность мкГн | Диаметр провода | Число витков | Способ намотки |
| L1 | 2-5 | 106 | 0,2 | 90 | Виток к витку. Рядовая. Диаметр каркаса 8 мм с ферритовым сердечником.
Отвод — от 30 витка. |
| L2 | 5-10 | 17 | 0,3 | 50 | Виток к витку. Рядовая. Диаметр каркаса 8 мм с ферритовым сердечником. Отвод — от 17 витка. |
| L3 | 10-20 | 4,3 | 0,4 | 30 | Виток к витку. Рядовая. Диаметр каркаса 8 мм с ферритовым сердечником. Отвод — от 10 витка. |
| L4 | 20-50 | 1,2 | 0,6 | 15 | Виток к витку. Рядовая. Диаметр каркаса 8 мм с ферритовым сердечником. Отвод — от 50 витка. |
| L5 | 50-90 | 0,18 | 0,8 | 6 | Шаг 1,3 мм.
|
| L6 | 90-160 | 0,055 | 1,0 | 2 | Шаг 2,5 мм. Рядовая. Диаметр каркаса 8 мм без ферритового сердечника. Отвод — от 1 витка. |
Конденсатор СЗ предназначен для грубой настройки , С4 — для точной. Калибровать автогенератор удобнее с помощью цифрового частотомера. Значения частоты в Мгц-ах наносятся на шкале С3 для каждого поддиапазона.
2. Усилитель ВЧ, выполненного на транзисторах VT2 и VT3 КТ361.
3. Модулятор — построенный на базе RC генератора на VT4 КТ315 с частотой колебаний в районе 1 кГц. С помощью выключателя SB2 он может быть при желании отключен.
Питание генератора ВЧ — стабилизированное 12 В.
Собираем генератор сигналов – функциональный генератор. Часть 1.
На этом занятии Школы начинающего радиолюбителя мы с вами продолжим наполнять нашу радиолабораторию необходимым измерительным инструментом. Сегодня мы начнем собирать функциональный генератор. Данный прибор необходим в практике радиолюбителя для настройки различных радиолюбительских схем – усилителей, цифровых устройств, различных фильтров и множества других устройств. К примеру, после того как мы соберем этот генератор, мы сделаем маленький перерыв в ходе которого изготовим простое светомузыкальное устройство. Так вот, что бы правильно настроить частотные фильтры схемы, нам как раз очень пригодится этот прибор.
Почему данный прибор называется функциональный генератор, а не просто генератор (генератор низкой частоты, генератор высокой частоты). Прибор, который мы изготовим, генерирует на своих выходах сразу три различных сигнала: синусоидальный, прямоугольный и пилообразный. За основу конструкции мы возьмем схему С. Андреева, которая опубликована на сайте в разделе: Схемы – Генераторы.
Для начала нам необходимо внимательно изучить схему, понять принцип ее работы и собрать необходимые детали. Благодаря применению в схеме специализированной микросхемы ICL8038 которая как раз предназначена для построения функционального генератора, конструкция получается довольно-таки простой.




Конечно, цена изделия зависит и от производителя, и от возможностей магазина, и от многих других факторов, но в данном случае мы преследуем одну цель: найти необходимую радиодеталь, которая была бы приемлемого качества и главное – по карману. Вы наверное заметили, что цена микросхемы сильно зависит от ее маркировки (АС, ВС и СС). Чем дешевле микросхема, тем хуже ее характеристики. Я бы порекомендовал остановить свой выбор на микросхеме “ВС”. У нее характеристики не очень сильно отличаются от “АС”, но намного лучше чем у “СС”. Но в принципе, конечно, пойдет и эта микросхема.
Собираем простой функциональный генератор для лаборатории начинающего радиолюбителя
Доброго вам дня уважаемые радиолюбители! Сегодня мы продолжим собирать наш функциональный генератор. Чтобы вам не скакать по страницам сайта, еще раз выкладываю принципиальную схему функционального генератора, сборкой которого мы и занимаемся:

А так же выкладываю даташит (техническое описание) микросхем ICL8038 и КР140УД806:
Даташит ICL8038 (151.5 KiB, 6,803 hits)
Даташит КР140УД608 (130.7 KiB, 3,975 hits)
Я уже собрал необходимые детали для сборки генератора (часть у меня была – постоянные сопротивления и полярные конденсаторы, остальные куплены в магазине радиодеталей):

Самыми дорогими деталями оказались микросхема ICL8038 – 145 рублей и переключатели на 5 и 3 положения – 150 рублей. В общей сложности на эту схему придется потратить около 500 рублей. Как видно на фотографии, переключатель на пять положений – двухсекционный (односекционного не было), но это не страшно, лучше больше, чем меньше, тем более, что вторая секция нам возможно пригодится. Кстати, эти переключатели абсолютно одинаковые, а количество положений определяется специальным стопором, который можно установить на нужное число положений самому. На фотографии у меня два выходных разъема, хотя по идее их должно быть три: общий, 1:1 и 1:10. Но можно поставить небольшой переключатель (один выход, два входа) и коммутировать нужный выход на один разъем
Кроме того хочу обратить внимание на постоянный резистор R6. Номинала в 7,72 МОм в линейке мегаомных сопротивлений нет, ближайший номинал – 7,5 МОм
Для того, чтобы получить нужный номинал придется использовать второй резистор на 220 кОм, соединив их последовательно.
Хочу обратить ваше внимание также на то, что сборкой и наладкой этой схемы собирать функциональный генератор мы не закончим. Для комфортной работы с генератором мы должны знать какая частота генерируется в данный момент работы, или нам бывает необходимо установить определенную частоту
Чтобы не использовать для этих целей дополнительные приборы, мы оснастим наш генератор простым частотомером.
Во второй части занятия мы с вами изучим очередной способ изготовления печатных плат – методом ЛУТ (лазерно-утюжный). Саму плату мы будем создавать в популярной радиолюбительской программе для создания печатных плат – SPRINT LAYOUT.
Как работать с этой программой, я вам пока объяснять не буду. На следующем занятии, в видео файле, покажу как создать нашу печатную плату в этой программе, а также весь процесс изготовления платы методом ЛУТ.
Страницы: 1
НИЗКОЧАСТОТНЫЙ ГЕНЕРАТОР
Рейтинг: / 5
- Подробности
- Категория: Генераторы НЧ
- Опубликовано: 17.03.2017 14:35
- Просмотров: 3455
Для качественного налаживания или ремонта, разработки аудиотехники просто необходим хороший генератор синусоидального низкочастотного напряжения, с минимальным коэффициентом гармоник. Обычно, низкочастотный синусоидальный генератор строят на основе усилителя, охваченного RC-цепью обратной связи по схеме моста Вина. Чтобы стабилизировать выходной сигнал и свести к минимуму искажения сейчас часто используют малогабаритную лампу накаливания, — свойство её металлической нити увеличивать свое сопротивление при увеличении тока через неё.
Стабилизация амплитуды на светодиодах
Эффективным методом стабилизации амплитуды выходного напряжения генератора синусоидальных сигналов является применение в цепи отрицательной обратной связи ОУ светодиодов (VD1 и VD2).
Основной коэффициент усиления задается резисторами R3 и R4. Остальные же элементы (R5, R6 и светодиоды) регулируют коэффициент усиления в небольшом диапазоне, поддерживая генерацию стабильной. Резистором R5 можно регулировать величину выходного напряжения в интервале примерное 5-10 вольт.
В дополнительной цепи ОС желательно использовать низкоомные резисторы (R5 и R6). Это позволит пропускать значительный ток (до 5мА) через светодиоды и они будут находиться в оптимальном режиме. Даже будут немного светиться 🙂
Блокинг-генератор
По своей сути, является усилителем, собранным на базе транзисторов, расположенных в один каскад. Область применения узка – источник внушительных, но скоротечных по времени (продолжительность от тысячных долей до нескольких десятков мкс) сигналов-импульсов с большой индуктивной плюсовой обратной связью
Скважность – больше 10 и может доходить до нескольких десятков тысяч в относительных величинах. Наблюдается серьезная резкость фронтов, по своей форме практически не отличающихся от геометрически правильных прямоугольников
Применяются в экранах электронно-лучевых приборов (кинескоп, осциллограф).
Генераторы
Важной частью радиолюбительской лаборатории является низкочастотный генератор. С его помощью можно проверять, ремонтировать и налаживать самодельную или промышленную аудио-технику
Желательно использовать генератор НЧ совместно с частотомером (для точного определения частоты) и осциллографом .
Обычно при налаживании радиоприемной аппаратуры используют генератор ВЧ, а для модуляции генератор НЧ. И то и другое — синусоидальные генераторы, сделанные по достаточно сложным схемам. Однако, во многих случаях может быть вполне достаточно простого генератора -пробника, генерирующего .
В статье рассмотрен разработанный автором генератор сину-соидальных колебаний фиксированной низкой частоты, имеющих высокую стабильность амплитуды. Он содержит всего один операционный усилитель, три параллельных стабилизатора напряжения и один полевой транзистор. собенность генераторов с мостом .
Схема генератора высокой частоты, который вырабатывает сигналы в диапазоне от 10 до 50 МГц. Сигнал можно промодулировать по частоте подав НЧ напряжение от ГНЧ или микрофона. Девиация частоты зависит от величины этого напряжения ЗЧ. Если нужна девиация 50-100 кГц, то, при крайне верхнем .
Принципиальная схема самодельного генератора логических импульсов с частотой от 1 Гц до 10КГц, собран на микросхеме 4011 (К561ЛА7). При ремонте и налаживании схем на цифровых микросхемах может быть очень полезен генератор логических импульсов. В общем, это генератор прямоугольных импульсов .
Низкочастотный генератор синусоидального сигнала — очень важный прибор в лаборатории любого радиолюбителя.Возможно, такой уже есть у всех. Но все же хочу познакомить читателей журнала со своим генератором. Генератор выполнен в виде самостоятельного прибора, питающегося от электросети. Но шкала .
Простой самодельный генератор-пробник, с регулировкой выходной частоты от 100 Гц до 10000 Гц, выполнен на микросхеме К561ЛА7. Если нужно экспромтом проверить прохождение сигнала по аудиотракту многие корифеи пользуются собственным пальцем как генератором НЧ (50 Гц сетевых наводок), регулируя .
Принципиальная схема самодельного широкодиапазонного генератора синусоидального сигнала для лабораторных целей, выполнен на микросхеме MAX038. Синусоидальный генератор является одним из важнейших приборов лаборатории радиолюбителя. Обычно делают два генератора, низкочастотный и высокочастотный .
Принципиальная схема простого генератора плавного диапазона на микросхеме HC4046, Частота до 50 MHz. Микросхема НС4046 (а так же аналогиMM74HC4046N, MJM74HC4046 и другие) представляет собой RC-генератор с ФАПЧ, способный генерировать стабильную частоту до 50 MHz, что позволяет сделать ГПД .
Приведена принципиальная схема низкочастотного генератора сигналов, который выполнен на ОУ КР140УД708. Низкочастотный генератор является одним из необходимейших приборов врадиолюбительской лаборатории. С его помощью можно налаживать различные усилители, снимать АЧХ, проводить эксперименты .
Источник
Тестирование работы генератора сигналов
Соберите аппаратную часть проекта и загрузите программу в плату Arduino. В идеале тестировать работу данного генератора нужно с помощью осциллографа, но если у вас его нет, то можно использовать простой светодиод – им можно оценить работу схему на частотах, которые видит человеческий глаз.

Подключите зонд к выходу прямоугольной и синусоидальной волны в схеме. Подключите к этим двум контактам светодиоды если у вас нет осциллографа. Подайте питание на схему и вы увидите приветственное сообщение на экране ЖК дисплея. Затем, вращая ручку углового кодера, вы можете установить желаемое значение частоты сигнала. Формируемые сигналы будет наглядно видно на экране осциллографа. Если вы используете для проверки схемы светодиоды, то вы увидите что частота их мигания будет изменяться с вращением ручки углового кодера.

Более подробно работу проекта вы можете посмотреть на видео, приведенном в конце статьи.







