Содержание
Как выбрать ленту?
Шлифовальная лента является одним из главных компонентов самодельной шлифовальной машины. Главный показатель качества шлифовальной ленты – это размер абразивных зёрен. Именно они отвечают за качество шлифовки материала. Ленты могут быть крупнозернистыми, среднезернистыми и мелкозернистыми. Сами по себе абразивные зёрна представляют искусственные минералы с высокой степенью твердости. Также материал ленты не должен быть излишне жёстким. Такие ленты часто подвержены изломам. Также для самодельной шлифовальной машины можно использовать рулоны обычной наждачной бумаги.
Итак, изготовить ленточную шлифовальную машину из болгарки можно без проблем и довольно быстро своими руками. А учитывая стоимость готовых шлифовальных машин, самостоятельное её изготовление является довольно актуальным и разумным решением.
О том,как сделать ленточную шлифовальную машину из болгарки, смотрите в видео ниже.
Как сделать орбитальный шлифовальный станочек на основе болгарки
Здравствуйте, уважаемые читатели и самоделкины! Одним из важных процессов при изготовлении различных самоделок является шлифовка. Для быстрой обработки деталей применяются различные станки, в том числе и орбитальный.
В данной статье автор YouTube канала «Мастер Класс 61» расскажет Вам, как можно сделать простейший орбитальный шлифовальный станок, сердцем которого послужит обычная болгарка (желательно, с регулировкой оборотов).

Этот проект достаточно прост в изготовлении, и может быть повторен с помощью минимального набора инструментов.
Инструменты , использованные автором. — Шуруповерт — Самоцентрирующиеся сверла — Сверла по дереву с зенковкой — F-струбцины — Защитные очки из поликарбоната — Болгарка — Дисковая шлифовальная насадка — Мини-сверлильный станок — Циркулярная пила, торцовочная пила — Отвертка с набором бит, рожковые гаечные ключи — Рулетка, комбинированная линейка 3 в 1, карандаш.
Материалы , необходимые для самоделки. — Толстая 25-мм листовая фанера — Монтажные стальные уголки, болты М8, шайбы, саморезы по дереву с пресс-шайбой — Набор шлифовальных дисков с липучкой. Процесс изготовления. Первым делом автор вырезает основание для станка из толстой фанеры (20-25 мм). Также для этого вполне подойдет кусок ДСП, или широкая доска.

Опорный стол для деталей делается из того же материала, при этом его глубина составляет 100 мм.

Затем с обычной «125-й» болгарки снимается защитный кожух и дополнительная рукоятка.

В качестве держателей послужат вот такие монтажные стальные уголки. Они прикручиваются к болгарке болтами М8 с двух сторон корпуса редуктора. Для этого идеально подходят заводские отверстия для рукоятки.

Теперь вся конструкция прикручивается к основанию. Автор подготовил пилотные отверстия, используя самоцентрирующееся сверло, и прикрутил полки уголков саморезами с пресс-шайбой.

Теперь столик прикручивается к подставкам. Его верхняя часть должна находиться на уровне вала болгарки.

Столик прижимается к основанию струбциной, и прикручивается к нему саморезами с нижней стороны.

При работе с похожими станками следует всегда использовать защитные очки, и другие средства индивидуальной защиты. Соблюдайте технику безопасности!
На таком станке удобно обрабатывать углы деталей, выравнивать плоскости, и закруглять грани. При желании можно сделать столик с регулируемым углом наклона.
Всем хорошего настроения, крепкого здоровья, и интересных идей!
Авторское видео можно найти здесь.
Источник (Source)
Становитесь автором сайта, публикуйте собственные статьи, описания самоделок с оплатой за текст. Подробнее здесь.
Виды средств для полировки
Даже самое надёжное лакокрасочное покрытие рано или поздно выцветает – из-за этого на поверхности кузова автомобиля появляются сколы и трещины. Именно их и уничтожает полировка, возвращая вашему «железному коню» первозданный вид. Конечно, для того, чтобы игра стоила свеч, нужно правильно выбрать полироль и пасту:

- Абразивные средства. Полировка с использованием этих веществ удаляет потёртости и царапины с поверхности авто. Помните, что такие средства заодно уничтожают и небольшой слой лака, поэтому после полировки машины его нужно восстановить. Конечно, не стоит злоупотреблять абразивной полировкой – слишком частое применение таких средств может уничтожить лакокрасочное покрытие кузова автомобиля;
- Неабразивные вещества. При помощи таких средств осуществляют защитную полировку. Для того, чтобы авто выглядело презентабельно, подобную процедуру необходимо проводить хотя бы раз в год;
- Силиконовые полироли. Эти вещества заполняют наиболее мелкие трещины кузова – и придают машине приятный блеск. Зачастую их применяют в комплексе с абразивными средствами – для закрепления полировки.
https://youtube.com/watch?v=4LRZh8amrlk
Как изготовить станину для болгарки
Для каждого очевидно, что крайне сложно держать инструмент, обладающий большим весом, несколько часов. Поэтому для облегчения своего труда при выполнении операции многие мастера изготовляют специальные приспособления, которые называют станины. Когда болгарка оснащена таким приспособлением, то работу по резке можно выполнять, задействовав только одну руку.
Чтобы изготовить станину, сначала необходимо сделать деревянный ящик. Можно обойтись только одной стороной, на которой будет закреплён инструмент. Все остальные стены можно убрать, а вместо них прикрепить ножки специальной конструкции.
Но чтобы добиться эффективности использования болгарки с таким приспособлением, необходимо внести в его конструкцию некоторые изменения.
Первым делом необходимо выполнить демонтаж кожуха болгарки. После этого на инструмент необходимо надеть диск. Когда это действие будет выполнено, его нужно прижать к боковой стенке приспособления.
Необходимо поставить отметку, где был сделан зазор для хода насадки или диска. Его ширина не должна быть слишком большой, иначе посторонние предметы при выполнении работ могут попасть внутрь конструкции.
При желании зазор можно увеличить. Необходимость в этом возникает в тех случаях, когда нужно заменить насадки, не выполняя разбора полностью всей конструкции. Образцы деревянных брусков можно использовать в качестве опорных элементов. После этого можно приступать к выполнению работ по распиливанию заготовок.
Устройство станка
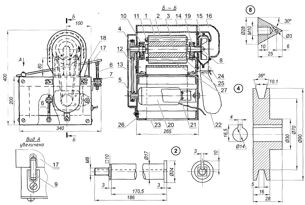
Несущая конструкция ленточного станка состоит из вертикальной стойки и опоры. Первая — это металлическая полоса, нижняя часть которой согнута под углом 90º, а вторая — прямоугольный лист толстого металла. Согнутая часть стойки выступает в роли ее опорной площадки, с помощью которой она крепится на переднем краю опоры. На плоскости опоры смонтирован привод, в роли которого выступает угловая шлифмашина (болгарка), подключенная с электросети через регулятор оборотов.

На шпинделе болгарки на резьбе крепится ведущий шкив в виде металлического валика, который задает движение шлифовальной ленты. Ведомый валик устанавливается на верхней части стойки. Позади нее расположено Т-образное коромысло, которое нижним концом зафиксировано на опоре и соединено поперечиной со стойкой. На ближнем конце коромысла находится натяжной ролик, а к дальнему прикреплена пружина, обеспечивающая натяг ленты.
Самый важный и сложный компонент любого ленточного шлифовального станка — это система валиков, по которым с большой скоростью движется лента. Размер ведущего шкива задает линейную скорость движения, поэтому его диаметр необходимо определять расчетным путем.
Линейная скорость ленты вычисляется по формуле: V = (π × D × N) / 1000 × 60, где V — скорость (м/сек), D — диаметр ведущего шкива (мм), N — количество оборотов привода (об/мин). Соответственно диаметр определяется по формуле: D = V × 1000 × 60 / π × N (мм).
Рекомендуемые скорости обработки материалов разнятся:
- древесина — примерно 25 м/сек;
- сталь — 25-30 м/сек;
- пластики (в зависимости от типа) — 10÷30 м/сек;
- титан — 15 м/сек.
Поскольку основные материалы, обрабатываемые в домашней мастерской — это сталь, древесина и пластик, расчет будет опираться на предельную величину 26 м/сек. Максимальная скорость вращения шпинделя нашей болгарки составляет 11 000 об/мин, поэтому расчетное значение диаметра будет равно 45 мм.
Все три вращающихся элемента имеют одинаковый диаметр 45 мм, но разную конструкцию:
- Ведущий шкив. Цилиндрической формы с бортиками по краям для предотвращения схода ленты. Внутри выточен стакан на глубину, достаточную для его крепления к резьбовому концу шпинделя длинной гайкой М14. Общая ширина рабочей поверхности — 60 мм, бортика — 1 мм.
- Ведомый валик. Наружная поверхность такая же, как у ведущего шкива. Вращается на двух подшипниках, заглубленных заподлицо с обеих сторон. В качестве вала используется болт диаметром 8 мм с короткой концевой резьбой, выступающей за его габарит.
- Натяжной ролик. Вал и подшипники такие же, как у ведомого валика. Наружная поверхность бочкообразная, без бортиков, шириной 60 мм.
Все три изделия лучше всего проверить и собрать там, где их изготовили. Опытные мастера наверняка помогут правильно посадить подшипники и исправят возможные недочеты. Кроме того, в мастерской необходимо сделать отверстие в нижней части стойки диаметром 42 мм для установки привода.
Конструктивные элементы и комплектующие
Все остальные элементы конструкции могут быть изготовлены самостоятельно или приобретены в хозяйственных магазинах и на металлобазах. Для сборки ленточного шлифовального станка своими руками необходимы:
- Вращающиеся элементы. Описаны выше.
- Болгарка. Например, ручная угловая шлифмашина Hitachi g12 sr2 с 11 000 об/мин и мощностью 650 Вт. Подсоединяется к электросети через регулятор мощности.
- Основание. Лист металла толщиной 10 мм, размером 30 х 40 см. По краям сверлятся отверстия на 10 мм для прикрепления ее к верстаку. Два отверстия для винтов впотай расположены на месте установки стойки и еще одно — по месту фиксации привода.
- Стойка. Пластина толщиной 8 мм и шириной 8 см. Внизу согнута под прямым углом (полка 4 см) для установки на опору. Высота от сгиба до верхнего конца — 65 см. В нижней части расположено отверстие под привод, а в верхней — для крепления ведомого валика. На высоте 20 см от сгиба — отверстие для крепления соединительной планки стойки коромысла.
- Коромысло натяжного ролика. Состоит из стойки (толщина — 8 мм, ширина — 3 см, высота — 25 см) и закрепленной на ее верхнем конце (через втулку болтом) ассимметричной перекладины. На обоих концах последней просверлено по отверстию: на длинном — для установки натяжного ролика, а на коротком — для крепления натяжной пружины.
- Метизы и прочие материалы. Необходимые для сборки винты, болты, гайки, гроверы и втулки, а также подкладки из дерева и хомут для крепления болгарки к опоре.
В перечне не указаны материалы для рабочего стола, который монтируется перед полностью собранной шлифмашиной. Он должен изготавливаться индивидуально с привязкой к месту установки.
https://youtube.com/watch?v=hSRCHabJPi8
Существующие виды шлифовальных машинок + (Видео)
Промышленностью выпускаются несколько видов машинок, отличающихся как конструктивно, так и по назначению. Вот основные из них:
Эксцентриковая или орбитальная, в этом случае подошва инструмента одновременно вращается вокруг своей оси и по некоторой орбите. Получается так, что каждый раз она проходит немного в другом месте, поэтому царапины и заусенцы затираются с каждым проходом все сильнее и сильнее.
- Вибрационная модель. Здесь рабочая подошва осуществляет возвратно-поступательные движения с частотой порядка 20000 движений в минуту. Именно за счет этих движений и происходит шлифовка.
- Угловая шлифовальная машина, которую в народе принято называть «болгаркой». С помощью этого инструмента проводят грубую обработку деталей, крупных бревен и т.п. Для обработки применяются абразивные круги необходимой зернистости.
- Ленточная шлифовальная машинка, которая обычно используется для работ на больших поверхностях. Конструктивно она представляет собой валики, приводимые в движение электродвигателем, на которые надета наждачная лента.
Факторы, влияющие на точность пропила и угол наклона формируемой кромки
Наиболее важным фактором является система фиксации и направления пильного полотна. Как правило, в большинстве моделей лобзиков, она представлена маятниковым зажимом. Под воздействием сил, возникающих во время работы, она может отклоняться от первоначального положения. Некоторые модели, такие как Festool PS300 EQ-Plus оснащаются дополнительной направляющей, увеличивающей качество распила.

Лобзик с дополнительной направляющей
Кроме этого на точность пиления влияют следующие факторы:
- толщина распиливаемого материала. При увеличении площади контакта пилы с обрабатываемым материалом возрастает сила трения, которая нагревает полотно, увеличивая его деформацию;
- структура материала. Однородность распиливаемого материала оказывает непосредственное влияние на точность пиления. Внутренние напряжения в нем постоянно стремятся отклонить лезвие лобзика от прямолинейного направления;
- качество пилки. Материал изготовления, соблюдение технологии закаливания, угол наклона и заточка зубьев напрямую влияют на результат работы;
- скорость выполнения работ. Во время распиливания заготовки, многие пользователи слишком сильно надавливают на лобзик, пытаясь ускорить процесс пиления. В результате он уходит с заданной траектории.
Как Перемотать Болгарку На 12 Вольт
Болгарка своими руками из дрели и бензопилы
Довольно нередко в быту нужно перепрофилировать рабочие инструменты. Это касается не ситуации, когда нужно использовать болгарку, а такой не имеется. На помощь бывают варианты придти дрель, бензо- по другому электрическая пила, каковой срок проекта, какой инструмент имеются.
Обычный не действенный метод получить болгарку из электрической пилы
Болгарка из дрели ()
Для такового преобразования пригодятся дома последующие инструменты:
Пока начинать преобразование, нужно убедиться, что в наиблежайшие деньки не пригодится в работах сама дрель. В прошлой статье я рассказывал как подключить и запустить двигатель на 380 вольт в однофазной электросети 220 в. И позже довольно следовать пошаговой аннотации:
- Выбрать насадку для будущей болгарки.
- Взять прут из стали маленького поперечника не сточить один из его краев. Это действие нужно для наилучшего вхождения конкретно в насадку. Также для наилучшей сцепки следует немного сточить места, которые будут соприкасаться с лепестками патрона не самого прута.
- Произвести фиксацию всех частей.
Резвый не обычный метод сотворения болгарки
Существует не 2-ой, более непростой метод достигнуть хотимого результата.
- Происходит извлечение патрона из дрели. Для болгарки он не надо, потому его есть вариант прочистить, смазать не поместить хранить.
- Выбрать насадку для грядущего инструмента. Лучше, чтоб это была деталь из крепкой стали, облегченный вариант тут будет неуместен.
- Выбор прута. Он нужен таковой длины, чтоб на 1,8-1,9 см его часть выступала вне дрели. Дальше следует один из его концов сточить рашпилем, чтоб в процессе вышел пруток, совершенно совпадающий с гнездом в самой насадке. Перед стыком стоит намазать его концы машинным маслом для наилучшего прохождения.
- Установка шарикоподшипника осуществляется к району для вывода. Через него будет продеваться пруток с предстоящей фиксацией у основания. Если Таковой шаг не надо, пруток фиксируется на собственном же месте.
Аккумуляторная балгарка на 12 вольт своими руками
Болгарка
самодельная. Без станков в изготовлении использовалась тока (мотор с диском болгарным и почти
Соблюдая аннотации болгарка выходит за 1-2 часа
Сделать таким методом болгарку есть вариант в течение нескольких часов не тут получить нужный инструмент.
Болгарка из бензопилы и электропилы ()
Более обычным методом сделать болгарку своими руками является ее преобразование из бензо- по другому электрической пилы. Из-за готовое приспособление
Работа диска для болгарки
будет владеть рядом преимуществ:
- Возможность автономной работы.
- Высочайшая мощность.
- Цена эксплуатации.
Чтоб бензопила по другому ее электронный вид перевоплотился в болгарку, купите во всяком строительном магазине особые насадки. Они посодействуют за считанные деяния совершить эти преобразования.
Для болгарки нужно понизить риск поломки диска. С этими целями пила оборудуется особым защитным кожухом. Также стоит понизить количество оборотов используя редуктора скорости.
Болгарка на 12 вольт ()
Для способности использовать электронный инструмент у клиента, нужно его мощность в 12 Вольт переработать на 220.
Вы узнаете как правильно подключить однофазные электродвигатели на 220 вольт на примере моторов от стиральной машины.
Таким макаром, естественно питать его от авто, в каком течет неизменный ток с напряжением в 12 Вольт, методом монтажа специального инвектора.
Маломощные инвекторы стоит подключать к прикуривателю, тут особенных требований не имеется. Единственными аспектами являются:
- Использовать при температурных критериях от.15 до 50 0 С не средней влажности.
- Не позволять работать устройствам под прямыми солнечными лучами.
- Не использовать для хранения места под сиденьями, так как при работе инвектор будет греться. Для его остывания нужно беспрепятственное прохождение воздуха.
Более мощнейший инвектор рекомендуется подключать к клеммам аккума. При всем этом запрещено включение зажигания либо мотора, если производимая инвектора произведен к недемонтируемому аккуму.
Сделать болгарку естественно из разных инструментов, которые у каждого есть рядом. Благодаря инструктажу, работа производится своими руками всего за 2-3 часа.
Необходимые материалы и инструменты
- саму болгарку, которая потом и будет трансформироваться во фрезер и назад;
- отрезок двутавровой балки;
- квадратный металлической профиль 2-ух размеров — 20×20 мм² и 25×25 мм²;
- маленькой лист оцинковки;
- круги на болгарку – отрезной, шлифовальный и железная щётка;
- метчик М14 с шагом резьбы, таким же, как у зажимной гайки болгарки;
- зажимной патрон от дрели с резьбовым соединением;
- сварочный аппарат.
И естественно, что под рукой у меня были различные болты и гайки, из которых можно подобрать то, что требуется.
Вот эту болгарку я решил использовать в качестве «подопытного кролика»
Доводим до ума кронштейн: монтируем зажим для болгарки
Для того, чтобы была возможность зажать болгарку в кольце кронштейна, в верхней его части выпиливаем проём, а с торца навариваем длинную гайку с одной стороны и короткую с другой. При этом, короткую (простую) гайку рассверливаем так, чтобы болт свободно сквозь неё проходил.
Зажимной механизм кронштейна готов, можно пользоваться
Теперь необходимы дополнительные фиксаторы. В их роли выступят металлические уголки, которые я вырезал из листа оцинковки. К самому кронштейну они будут крепиться при помощи сварки, а к болгарке – фиксироваться болтами, вкрученными в посадочные гнёзда рукоятки.
Вот так выглядят крепёжные уголки. Они пока ещё не приварены к кронштейну
Из-за того, что кронштейн свободно двигается по направляющим, нужно было продумать фиксаторы. Для этого, в квадратном профиле были просверлены отверстия под болты, в которых нарезана подходящая резьба. К шляпкам болтов были приварены лепестки для удобства вращения. Получилось некое подобие «барашков».
Просверливаем отверстия, а после нарезаем в них резьбу
Машинка для браширования древесины

Брашированием называют метод искусственного состаривания древесины, подразумевающий использование специализированных инструментов и методик. В основе техники браширования лежит механическая обработка древесины специальных металлических щеток, с помощью которых удаляют наиболее мягкие верхние волокна материала.
Благодаря этому приему обнажается твердая поверхность древесины, на которой отчетливо просматривается текстура материала и структура годичных колец, а также образуется красивый рельеф, подчеркивающий эстетичный вид отделочного материала. Однако на этом процесс браширования не заканчивается.
Чтобы подчеркнуть рельеф и сделать структуру древесины еще более отчетливой, ее выделяют цветом, придающим насыщенность естественным оттенкам.
Для этого производят неравномерное окрашивание поверхности, обработанной металлической щеткой, при этом впадины, образовавшиеся в результате удаления мягких волокон, окрашивают в более темные оттенки, а поверхность фактуры – в более светлые. Благодаря этому приему рельеф древесины становится максимально заметным.
Важно! Чтобы искусственно состаренная древесина приобрела максимальное сходство с материалом, старение которого происходило в естественной среде, специалисты рекомендуют окрашивать материал, ранее подвергшийся брашированию, в серый цвет. Не дожидаясь полного высыхания краски, ее смазывают с рельефной поверхности
Метод искусственного структурирования может использоваться в рамках обработки древесины как твердых, так и мягких пород. Главное требование, которому должна отвечать древесина, подлежащая брашированию — это наличие четко выраженной фактуры и хорошо заметных слоев различной твердости.
К таким материалам относятся дуб, сосна, орех, лиственница, венге и ясень.
Что касается ольхи, вишни, березы, тика, клена и бука, то в отношении этих пород метод браширования будет доказано малоэффективным, так как отличительной особенностью этих деревьев является мелковолокнистая структура без выраженной слоистости.
В масштабах производства объем работы в разы выше, в связи с чем, возникает необходимость автоматизации процесса, подразумевающей использование специальных станков.
Это способствует упрощению работ по изготовлению состаренной древесины, а также снижает временные затраты, позволяя выполнять большие объемы работ за короткий промежуток времени.
Если вы хотите приобрести специальные станки для браширования древесины в домашних условиях, это имеет смысл только в том случае, если вы планируете выполнить большой объем работ. Рассмотрим наиболее распространенные модели брошюровочных машинок.
Зачистной фрезер или, так называемая, щеточная машинка для браширования древесины FESTOOL RUSTOFIX RAS 180.
- В комплекте с этим устройством поставляются три щетки:
- Первая щетка из стальной проволоки, которая используется для первичной обработки древесины;
- Вторая щетка из синтетического ворса, предназначенная для промежуточной шлифовки;
- Третья – из сизаля используется для полировки обработанной поверхности.
Шлифовальная машинка Makita 974 также может использоваться для браширования древесины, однако в процессе работы с ней могут возникнуть трудности, связанные с обработкой угловых участков.
В связи с этим, в местах стыков между стенами и полом необходимо дополнительно использовать угловую шлифовальную машинку, оснащенную насадками.
Шлифовальная машинка Felisatti AGF 110/1010E может использоваться для обработки как относительно ровных, так и неровных поверхностей. В комплекте с этим устройством поставляются металлические и нейлоновые щетки.
У него есть аналог – шлифовальная машинка Интерскол, браширование древесины с использованием которой значительно упростится, если вы будете следовать инструкции, представленной в нашей статье.
Преимущества полировки машины болгаркой
Популярность этого способа растёт не по дням, а по часам. Причина этого кроется в том, что полировка болгаркой обладает рядом преимуществ:
-
Доступность.
Болгарка есть в наборе инструментов каждого мужчины, поэтому вам не нужно будет приобретать либо же брать в аренду профессиональные инструменты. -
Простота.
Для полировки автомобиля болгаркой не нужно обладать специфическими познаниями и многолетним опытом. Достаточно терпеливо и аккуратно выполнять эту работу. -
Универсальность.
Используя болгарку, вы легко приведёте в порядок не только поверхность кузова, но и стёкла с фарами. Кстати, обрабатывая фары, полностью откажитесь от силиконовых средств. В отдельных случаях необходимо использование крупнозернистой наждачной бумаги.
Когда работа с деревянной поверхностью подходит к завершению, наступает этап финишной шлифовки. Чтобы выполнить шлифовку без заусенцев, царапин, красиво закруглить острые углы любой детали, необходимо воспользоваться шлифовальной машинкой по дереву. Этот инструмент поможет выполнить шлифовку профессионально даже новичку, который впервые взял аппарат в руки. При наличии желания можно сделать шлифовальную машинку самостоятельно, используя лишь подручные средства.
Промышленностью выпускаются несколько видов машинок, отличающихся как конструктивно, так и по назначению. Вот основные из них:
Эксцентриковая или орбитальная, в этом случае подошва инструмента одновременно вращается вокруг своей оси и по некоторой орбите. Получается так, что каждый раз она проходит немного в другом месте, поэтому царапины и заусенцы затираются с каждым проходом все сильнее и сильнее.

- Вибрационная модель. Здесь рабочая подошва осуществляет возвратно-поступательные движения с частотой порядка 20000 движений в минуту. Именно за счет этих движений и происходит шлифовка.
- Угловая шлифовальная машина, которую в народе принято называть «болгаркой». С помощью этого инструмента проводят грубую обработку деталей, крупных бревен и т.п. Для обработки применяются абразивные круги необходимой зернистости.
- Ленточная шлифовальная машинка, которая обычно используется для работ на больших поверхностях. Конструктивно она представляет собой валики, приводимые в движение электродвигателем, на которые надета наждачная лента.





